La Ducati Panigale V4 R 2026 no solo es una superbike de homologación cargada de piezas especiales. También es el primer modelo de calle en el que Ducati ha decidido romper con el esquema clásico del cambio de marchas, adoptando un patrón directamente heredado de MotoGP. No por espectáculo, sino por funcionalidad en conducción extrema.
El llamado Ducati Racing Gearbox utiliza un esquema N-1-2-3-4-5-6, con el punto muerto separado de la primera marcha. Este diseño facilita las reducciones agresivas hasta primera, algo habitual en circuito, evitando quedarse entre neutral y primera en frenadas muy fuertes. El inconveniente es obvio: con ese patrón, el riesgo de engranar punto muerto por error al reducir existe.
Ahí entra el verdadero núcleo del sistema, y lo que acaba de quedar claro gracias a una patente registrada por Ducati. La marca ha desarrollado un bloqueo mecánico del punto muerto que impide seleccionarlo salvo que el piloto realice una acción consciente adicional. En la Panigale V4 R, esa acción es accionar una pequeña palanca con el pulgar derecho al mismo tiempo que se mueve el pedal del cambio.
No es una idea nueva en competición. Todas las motos de MotoGP utilizan algún tipo de 'neutral lock' para este mismo patrón de cambio. Lo relevante es cómo lo ha resuelto Ducati y, sobre todo, cómo lo ha simplificado.
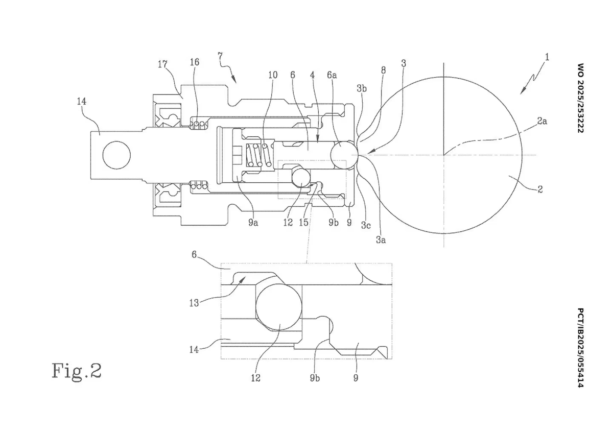
Según la patente, el sistema se basa en un mecanismo puramente mecánico con muy pocas piezas. En el tambor del cambio se monta una leva circular con una única muesca correspondiente a la posición de punto muerto. Contra esa leva actúa un pistón con muelle, rematado por una bola, que normalmente está bloqueado por un sistema de bolas internas alojadas en un casquillo.


Mientras el sistema está en reposo, ese pistón no puede retraerse, lo que hace físicamente imposible que el cambio entre en neutral. Al accionar la palanca del pulgar, el casquillo se desplaza, libera las bolas de bloqueo y permite que el pistón se comprima cuando la leva alcanza la muesca del punto muerto. En cuanto se engrana una marcha y el tambor gira unos grados, el sistema vuelve automáticamente a bloquearse.
No hay electrónica, sensores ni software de por medio. Ducati habla de un conjunto de apenas doce componentes, con accionamiento por cable como opción más sencilla, aunque también se contempla una versión hidráulica o mediante solenoide. Eso reduce costes, peso y puntos potenciales de fallo.
Y aquí está la clave: Ducati no suele patentar soluciones tan concretas si no tiene intención de reutilizarlas. Históricamente, muchas tecnologías que debutaron en las versiones R de la Panigale acabaron llegando a modelos estándar e incluso a otras familias de la marca.
Este sistema no está pensado para hacer la moto “más racing” de cara al marketing. Está pensado para permitir un patrón de cambio distinto sin penalizar la seguridad ni la usabilidad. Y eso lo convierte en algo perfectamente trasladable a motos de calle más allá de la Panigale V4 R.
Leer también: Adiós a las gafas de sol en la moto: este nuevo invento se oscurece en menos de un segundo
No es una revolución visible ni espectacular, pero sí un cambio profundo en cómo Ducati entiende la transmisión en motos deportivas. Y cuando una marca se toma la molestia de patentar algo así, normalmente es porque no piensa dejarlo encerrado en un solo modelo... Pero que llegue ahora al resto de motos de producción y calle de la marca será cuestión de tiempo; probablemente de mucho tiempo.

