Kawasaki no se rinde con el hidrógeno. Mientras gran parte de la industria mira hacia las motos eléctricas como el posible futuro, la marca japonesa sigue explorando otra vía para mantener vivo el motor de combustión: quemar hidrógeno en lugar de gasolina. Sobre el papel suena ideal (emisiones muy bajas y tecnología conocida, entre otras ventajas...), pero en la práctica el desarrollo está revelando un problema que cada vez resulta más evidente: meter suficiente hidrógeno dentro de una moto es tremendamente complicado.
Las últimas pistas llegan a través de nuevas patentes registradas por la marca de Akashi que muestran cómo evoluciona su proyecto de moto de hidrógeno, el mismo concepto que ya hemos visto en prototipos como la Kawasaki H2 HySE. Y lo que dejan claro esos documentos es que el mayor reto no está en el motor… Sino en el combustible.
Recaputilemos. La base técnica de este proyecto parte de algo que Kawasaki conoce muy bien: el motor tetracilíndrico sobrealimentado de 998 cc de la familia H2. En lugar de funcionar con gasolina, este bloque se ha modificado para utilizar hidrógeno mediante un sistema de inyección directa específico.
La idea es relativamente simple desde el punto de vista conceptual: seguir utilizando un motor térmico convencional, pero con un combustible que al quemarse genera principalmente vapor de agua. No es completamente limpio (pues pueden generarse pequeñas cantidades de NOx), pero sí elimina prácticamente las emisiones de CO₂. El avance es obvio llegados a este punto de la teoría; luego, otra ventaja es que este tipo de motor puede aprovechar procesos industriales que la industria ya domina, algo que facilitaría su producción si algún día llegara a la calle.
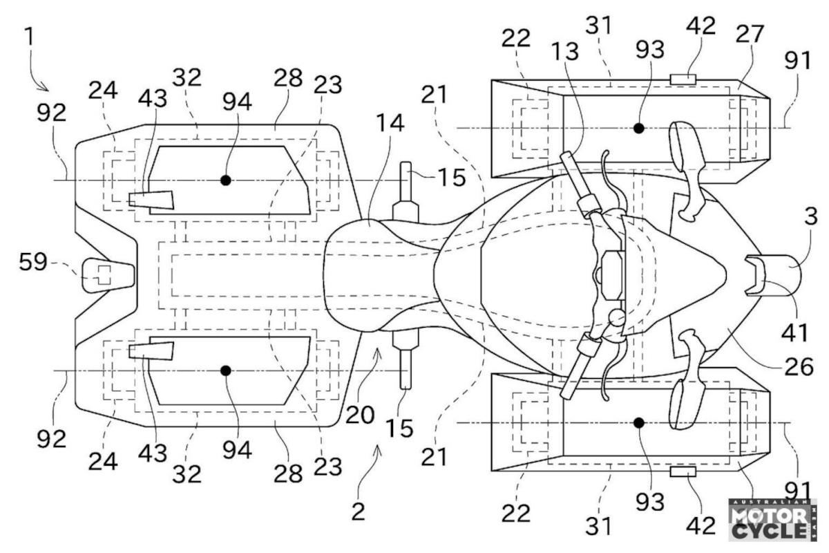
El verdadero problema es dónde meter el hidrógeno... El gran obstáculo del hidrógeno no es su combustión, sino su almacenamiento. Aunque tiene una densidad energética muy alta por kilogramo, ocupa muchísimo volumen. Para que sea utilizable en un vehículo debe almacenarse comprimido a presiones extremadamente altas, que pueden rondar los 700 bares. Claro, eso obliga a utilizar depósitos cilíndricos muy resistentes, similares a grandes botellas de buceo reforzadas. Integrarlos en una motocicleta es un auténtico rompecabezas.


Los primeros prototipos ya mostraban una solución bastante llamativa: dos enormes tanques situados a ambos lados de la moto, ocupando prácticamente el lugar donde normalmente irían las maletas laterales. Las nuevas patentes, poro tro lado, apuntan a una evolución todavía más radical.
Uno de los grandes problemas del hidrógeno en una moto es la autonomía. Incluso con depósitos grandes, la energía almacenada sigue siendo relativamente baja si se compara con la gasolina. Para entenderlo: incluso comprimiendo el hidrógeno a 700 bares, el volumen necesario para almacenar la misma energía que un depósito convencional de gasolina puede ser hasta seis veces mayor.
Por eso las patentes muestran una arquitectura con varios depósitos repartidos por la moto. Además de los tanques laterales, aparecen otros elementos adicionales integrados en distintas zonas del chasis para aumentar la capacidad total de almacenamiento. El objetivo final es fácil ded entender: conseguir una autonomía medianamente razonable. Pero la consecuencia también es evidente porque más depósitos significan más volumen, más peso y una arquitectura cada vez más compleja.
Otro detalle interesante que aparece en las patentes es la estructura de protección que rodea los tanques. Al trabajar con presiones tan altas, Kawasaki plantea una especie de jaula metálica diseñada para proteger los depósitos en caso de accidente. Así que esta estructura añade aún más masa al conjunto, lo que confirma que el proyecto está enfrentándose a retos de ingeniería bastante serios si quiere llegar algún día a producción.
A pesar de todas estas dificultades, Kawasaki sigue apostando fuerte por el hidrógeno como alternativa a la electrificación total. De hecho, la marca forma parte del consorcio HySE, creado en Japón para investigar el uso de este combustible en vehículos ligeros. La idea es mantener la experiencia de conducción de un motor de combustión (sonido, sensaciones y repostaje rápido) pero con un impacto ambiental mucho menor.
Leer también: La FIM admite un error grave en el GP de Tailandia: así queda la clasificación de Moto2
El problema es que, por ahora, la teoría funciona mucho mejor que la práctica. Mientras no aparezca una solución más compacta para almacenar hidrógeno de forma segura y eficiente, meter todo ese combustible dentro de una moto seguirá siendo el verdadero desafío. Y viendo las últimas patentes de Kawasaki, parece que todavía queda bastante camino por recorrer...

