
El diseño de una moto siempre ha sido una pelea constante por encontrar el punto medio. Si haces un basculante corto, la moto entra de cine en las curvas, pero en cuanto abres gas a fondo, la rueda delantera quiere mirar al cielo y pierdes estabilidad. Por el contrario, uno largo te pega al suelo al acelerar, pero hace que la moto sea un barco al girar. En Yamaha se han cansado de elegir y han patentado una solución que parece sacada de una película de naves espaciales: un basculante con una bisagra en medio.
A día de hoy, en pleno 2026, estamos muy acostumbrados a ver cómo las motos de carreras suben y bajan gracias a los dispositivos de altura. Sin embargo, lo que plantean los ingenieros de Iwata va un paso más allá. No se trata solo de hundir la suspensión trasera, sino de que el propio basculante cambie su geometría física gracias a un sistema articulado.
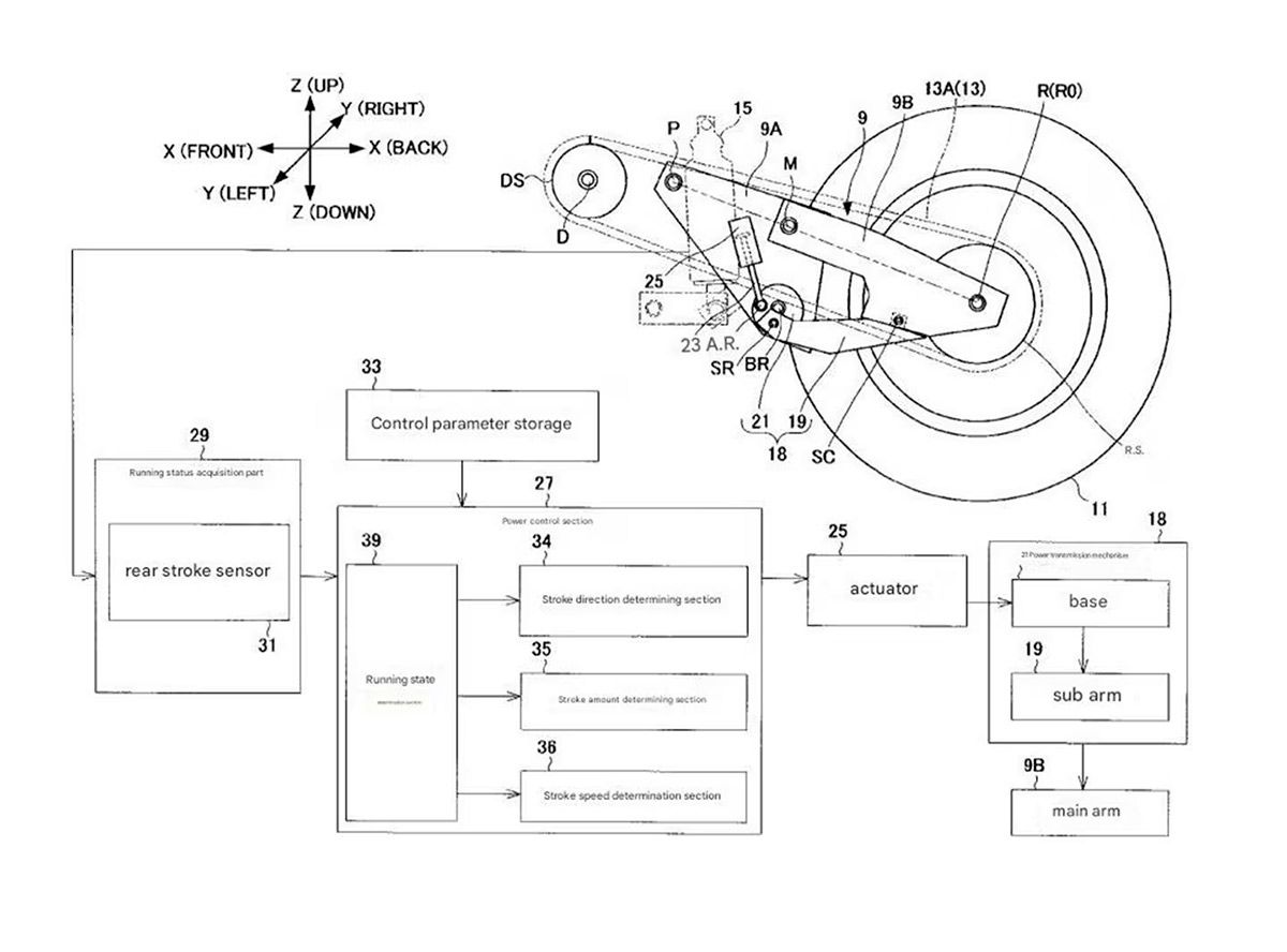
La idea de la patente a la que ha accedido Cycleworld.com es meter un puntal hidráulico dentro del propio brazo del basculante. Esta pieza está conectada a un mecanismo excéntrico que puede estirar o encoger la estructura. Básicamente, la moto tiene la capacidad de modificar su distancia entre ejes y su rigidez de forma dinámica, dependiendo de si estás frenando, tumbado en mitad de una curva o saliendo disparado hacia la siguiente recta.
El mundo de la competición ha sido el gran impulsor de todo esto. En el pasado, MotoGP demostró que había mucho tiempo que ganar si se jugaba con las alturas de la moto. Pero mientras que en las carreras todo tiene que ser mecánico por reglamento, Yamaha ha diseñado este invento para que sea totalmente electrónico.
En el documento técnico se explica que el sistema utiliza un actuador eléctrico. Este motorcito recibe órdenes de una unidad de control que analiza constantemente lo que ocurre. Si los sensores detectan que estás abriendo el acelerador a tope, el sistema actúa para maximizar la aceleración y mantener la tracción bajo control. Es un cerebro electrónico decidiendo cómo debe doblarse tu moto en cada milésima de segundo.


Un punto muy curioso de este diseño es cómo gestiona las fuerzas de la cadena. Cuando aceleramos, la cadena tira con una fuerza bestial y suele comprimir la suspensión trasera. El basculante de Yamaha está pensado para compensar este efecto de forma activa, manteniendo la moto equilibrada sin que el piloto tenga que pelearse con ella.
Muchos se preguntarán si esto acabará llegando a nuestras motos. La realidad es que el sistema es extremadamente complejo y añade un peso que, en una moto de calle convencional, quizá no compense. Pero Yamaha no da puntadas sin hilo. Aunque las normas de MotoGP se han vuelto muy estrictas con estas ayudas, la marca japonesa está usando este proyecto como un laboratorio avanzado para entender hasta dónde pueden estirar las leyes de la física.
Lo que está claro es que la era de los chasis de una sola pieza y comportamiento fijo tiene los días contados. Con la electrónica controlando ya casi cada aspecto del motor y las suspensiones, el siguiente paso lógico era que el propio esqueleto de la moto empezara a moverse para ayudarnos a ir más rápido o más seguros.
Leer también: Cuesta menos de 10.000 euros, tiene ADN italiano y 128 cv: así es la moto que va a revolucionar 2026
Es un concepto que marea solo de pensarlo, pero que demuestra que en Iwata siguen teniendo ganas de innovar. No sabemos si la próxima R1 vendrá con un basculante que se dobla, pero la tecnología ya está registrada y lista para ser probada en el asfalto.

