Yamaha está trabajando en una versión simplificada y más barata de su transmisión semiautomática Y-AMT, y todo apunta a que el objetivo es claro: llevar este tipo de tecnología a motos pequeñas y accesibles, donde hasta ahora no tenía mucho sentido por coste y complejidad.
Las transmisiones automáticas o semiautomáticas llevan décadas generando debate en el mundo de la moto. Durante años se han visto como algo ajeno a las “motos de verdad”, pero el panorama ha cambiado rápido. Hoy Honda, BMW, Yamaha, KTM, Kawasaki y varias marcas chinas ya ofrecen soluciones que eliminan o reducen el uso del embrague manual, y lo más significativo es que ya no se limitan a modelos grandes o caros. Yamaha no quiere quedarse fuera de esa tendencia.
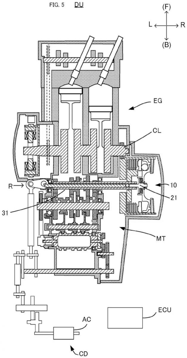
La marca japonesa lleva más tiempo del que parece experimentando con este concepto. Hace dos décadas ya lanzó la FJR1300AE con el sistema YCCS, que automatizaba el embrague y el cambio mediante actuadores eléctricos. El actual Y-AMT sigue esa filosofía: un servomotor para el embrague, otro para el selector de marchas, una centralita y mandos en el manillar que permiten elegir entre modo automático o cambio manual mediante botones.
La novedad ahora está en una patente que muestra una versión mucho más sencilla del sistema. En lugar de dos actuadores independientes, Yamaha plantea un único servomotor que se encarga a la vez del embrague y del cambio. La clave está en un sistema de bieletas que conecta el actuador del cambio con el brazo del embrague. Cuando el sistema acciona el cambio, al mismo tiempo libera presión del embrague para permitir el engranaje de la marcha, y lo vuelve a acoplar inmediatamente después.
.jpg)
Para que esto funcione tanto al subir como al bajar marchas, Yamaha rediseña el elemento que actúa sobre el empujador del embrague. En lugar de una leva convencional, utiliza una pieza semicircular que libera el embrague en ambos sentidos de movimiento del selector. El resultado es que cada vez que el cambio se acciona, el embrague se desacopla lo justo para que la transición sea suave, sin necesidad de un segundo motor eléctrico dedicado exclusivamente a esa función.
Este planteamiento introduce otro reto: qué ocurre cuando la moto está parada o arrancando, situaciones en las que el embrague debe separarse por completo y acoplarse de forma progresiva. La solución pasa por un embrague centrífugo, similar al que se ha visto en otros sistemas recientes. A bajas revoluciones permanece desacoplado y, conforme sube el régimen del motor, se va cerrando de manera automática, permitiendo una salida suave sin intervención del piloto.
Lo interesante es que tanto el actuador del cambio como el embrague centrífugo pueden integrarse sin grandes modificaciones en motores y cajas de cambio ya existentes. Eso reduce costes, simplifica la producción y facilita que esta tecnología llegue a modelos de acceso, donde el precio es un factor decisivo.
Leer también: Así es la nueva Copa Triumph 2026: circuitos de mundial, igualdad mecánica y preinscripción gratis
Si Yamaha termina llevando este sistema a producción, podría abrir la puerta a transmisiones semiautomáticas en motos pequeñas y económicas, pensadas para nuevos usuarios, uso urbano o mercados donde la facilidad de conducción pesa tanto como las prestaciones. No sería una revolución visible, pero sí un paso importante para normalizar este tipo de soluciones en la base del mercado.

