
Javier Ortega@todocircuitoweb |
CFMOTO ha dado un paso inesperado en el desarrollo de motos versátiles al presentar una patente que podría cambiar la forma en que entendemos la ergonomía sobre dos ruedas. Se trata de un sistema que permite modificar en marcha tanto la altura del manillar como la posición de las estriberas, sin necesidad de herramientas ni transformaciones complejas.
La idea no es nueva: desde hace décadas, los fabricantes sueñan con motos que pasen de una postura deportiva a otra más cómoda de forma instantánea. Pero hasta ahora, esos conceptos no habían salido del mundo de los prototipos. CFMOTO parece decidida a materializarlo de forma práctica, con un sistema sencillo, modular y adaptable a distintas motos sin rediseñar el chasis.
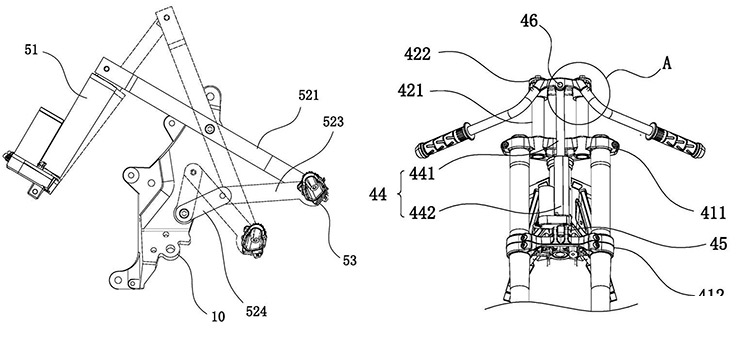
El funcionamiento del manillar es relativamente simple. Va montado sobre una araña superior convencional, pero con un soporte de aluminio adicional que se desliza verticalmente mediante dos guías. Todo el conjunto está conectado a un actuador electromecánico que puede subir o bajar la posición del manillar.
Cuando se encuentra en la parte más baja, adopta una postura similar a la de una moto deportiva, con semimanillares. Al elevarse, ofrece una posición más erguida y cómoda, como la de una naked o una touring ligera.
Por su parte, las estriberas también cuentan con un sistema activo. Se montan sobre el chasis mediante un brazo articulado que pivota en el tornillo superior de la estructura. Un actuador lineal empuja o retrae el brazo, lo que hace que la estribera se desplace hacia abajo y hacia adelante para una conducción relajada, o hacia arriba y hacia atrás para una postura más agresiva.


Lo interesante es que el sistema no incluye un mecanismo para ajustar los pedales del freno trasero ni de cambio junto con las estriberas. Para evitar ese problema, la solución que plantea CFMOTO pasa por eliminar esos controles del pie y reemplazarlos por tecnología más moderna: cambio semiautomático con botones en el manillar, embrague automatizado y freno trasero trasladado también al manillar, en el lado izquierdo. De ese modo, se eliminan las complicaciones mecánicas y se mantiene la funcionalidad.
Este conjunto promete varias ventajas. La más evidente, la adaptabilidad del pilotaje a diferentes situaciones o preferencias. También permite aprovechar una misma moto para trayectos urbanos y rutas deportivas, sin necesidad de ajustes físicos complejos. Además, al no requerir un rediseño total del chasis, puede integrarse en modelos ya existentes o futuros de forma rentable.
Leer también: KOVE actualiza su deportiva de 4 cilindros y 450 cc, ahora más estilo Ducati
Todavía no hay fecha oficial para su lanzamiento, pero todo apunta a que el desarrollo del sistema podría avanzar en los próximos años, con vistas a aparecer en algún modelo de producción a medio plazo. De materializarse, supondría un hito en la evolución de la ergonomía activa sobre motos de calle, un concepto que hasta ahora solo habíamos visto en bocetos futuristas.

Javier Ortega