Render basado en las patentes presentadas por BMW
BMW nos ha dejado con la boca abierta con su última patente, porque recupera una idea que muchos daban por muerta: la moto con cabina. Aunque parezca sacado de una serie de ciencia ficción, los alemanes han registrado un diseño de motocicleta totalmente cerrada para que no te mojes cuando llueve y vayas tan cómodo como en un coche. No es algo nuevo en el sector, pero que lo haga una marca tan potente en pleno 2026 dice mucho de por dónde va el futuro de la movilidad eléctrica.
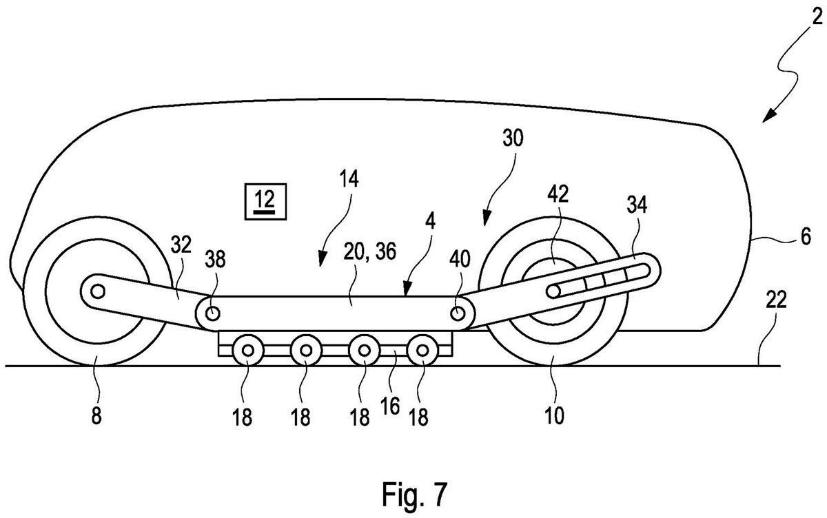
El gran problema de estas motos siempre ha sido qué pasa cuando te detienes. Como vas encerrado en una cápsula, no puedes sacar la pierna para apoyarte en el suelo. Hasta ahora, algunas marcas artesanales y preparadores usaban ruedines laterales o sistemas muy pesados de contrapesos. BMW ha decidido ir por otro camino y ha diseñado un sistema de apoyo mecánico que sustituye a los pies del piloto de una forma bastante ingeniosa.
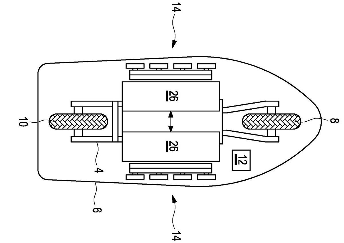
Lo que propone la marca es un mecanismo con ocho ruedas pequeñas que bajan automáticamente cuando la moto se para. Van colocadas en dos filas de cuatro, una a cada lado. La idea es que, al llevar tantas ruedas juntas, el vehículo sea muy estrecho y pueda pasar por sitios donde un coche no cabe. Además, esto da mucha seguridad si el asfalto está mal o hay un agujero, porque siempre habrá ruedas apoyadas para que no te vayas al suelo.
Este nuevo sistema de ruedas auxiliares cobra aún más sentido si recordamos que, hace apenas unos meses, la marca ya nos dejó boquiabiertos con la BMW Motorrad Vision CE. Aquel prototipo, presentado en el IAA Mobility 2025, sentó las bases de lo que estamos viendo hoy: una apuesta radical por movernos por la ciudad sin casco y sin ropa técnica, gracias a una estructura de seguridad tipo "jaula" y un cinturón que te mantiene protegido.
Lo que más llamó la atención de la Vision CE fue su capacidad para quedarse totalmente recta al estar parada, una tecnología de autoequilibrado que ahora parece evolucionar hacia este sistema de ocho ruedas para garantizar que, pase lo que pase bajo tus pies, la moto nunca pierda la verticalidad.


BMW tiene claro por qué apuesta por este formato y lo explica así en su documento: "el vehículo ocupa relativamente poco espacio en la carretera, el piloto/conductor está protegido del clima y la combinación de un área frontal pequeña y una aerodinámica suave promete eficiencia". Básicamente, quieren una moto que gaste poquísima batería y que puedas usar con traje un día de tormenta sin llegar empapado a la oficina.
En Múnich ya tienen experiencia con estos inventos. Seguro que recordáis la mítica BMW C1 de hace años, aquel scooter con techo y cinturón que no tuvo el éxito esperado. También probaron con prototipos de tres ruedas que se inclinaban en las curvas. Parece que ahora han cogido todo lo aprendido y lo han metido en una batidora para crear este nuevo concepto que busca ser definitivo.
Por supuesto, registrar una patente no significa que vayamos a ver la moto en la calle el mes que viene. Muchas veces las marcas simplemente protegen sus ideas para que nadie se las robe. Pero con las ciudades cada vez más cerradas al tráfico de coches grandes, un vehículo que une la agilidad de las dos ruedas con el confort de una cabina cerrada tiene más sentido que nunca.
Leer también: GIVI Stealth: el invento para llevar maletas en tu moto y ocultar los hierros cuando no las montas
La duda que nos queda a todos es si los moteros de toda la vida aceptarán un vehículo así. No hay viento en la cara ni sensación de libertad total, pero a cambio tienes calefacción, música y la seguridad de una estructura que te protege. Es un híbrido que busca atraer a conductores de coche que están hartos de los atascos pero que no quieren pasar frío ni jugársela en una moto normal.

