Kawasaki no se rinde con el hidrógeno, y ahora da un paso más en una dirección que pocos veían venir... incluso ellos mismos: pasar del hidrógeno comprimido al hidrógeno líquido. Sobre el papel suena a solución lógica para uno de los grandes quebraderos de cabeza de esta tecnología, que se ha visto desde el principio, y que es el tamaño descomunal de los depósitos y parecía un inconveniente, pero en la práctica abre un nuevo frente técnico igual de complejo hasta el punto de que Kawasaki ha creado un motor nuevo de cinco cilindros para ello.
La marca japonesa ya ha dejado ver prototipos funcionales rodando en circuito, confirmando que su idea de mantener el motor de combustión vivo con hidrógeno sigue adelante. El problema es puramente técnico, más allá de lo físico y es que, aunque el hidrógeno tiene una densidad energética altísima por peso, cuando se mide por volumen se desploma. Traducido a una moto y al lenguaje entendible: necesitas depósitos gigantescos para igualar la autonomía de la gasolina, algo que condiciona totalmente el diseño.
Aquí es donde entra el hidrógeno líquido: Kawasaki busca aprovechar que, en este estado, el combustible ocupe menos espacio que cuando va comprimido a alta presión. Si bien no una solución perfecta (pues los tanques siguen siendo grandes, enormes), al menos permite acercarse a cifras más razonables para una moto, que es de lo que se trata, al fin y al cabo: llegar a venderla algún día como sustituta de la gasolina y la electricidad.
No todo es de color de rosa... Y el inconveniente es que mantener el hidrógeno en estado líquido exige temperaturas extremas, por debajo de los -250 °C. Eso obliga a usar depósitos muy bien (remarcamos, muy bien) aislados y con formas poco prácticas, normalmente cilíndricas o esféricas, pensadas para minimizar pérdidas de temperatura más que para integrarse bien en una moto.
Pero hay más: al cambiar a hidrógeno líquido, desaparece una ventaja clave del sistema anterior: la presión natural del depósito. Con hidrógeno comprimido, esa presión facilita la inyección directa sin necesidad de grandes sistemas adicionales, mientras que en el estado líquido, no.
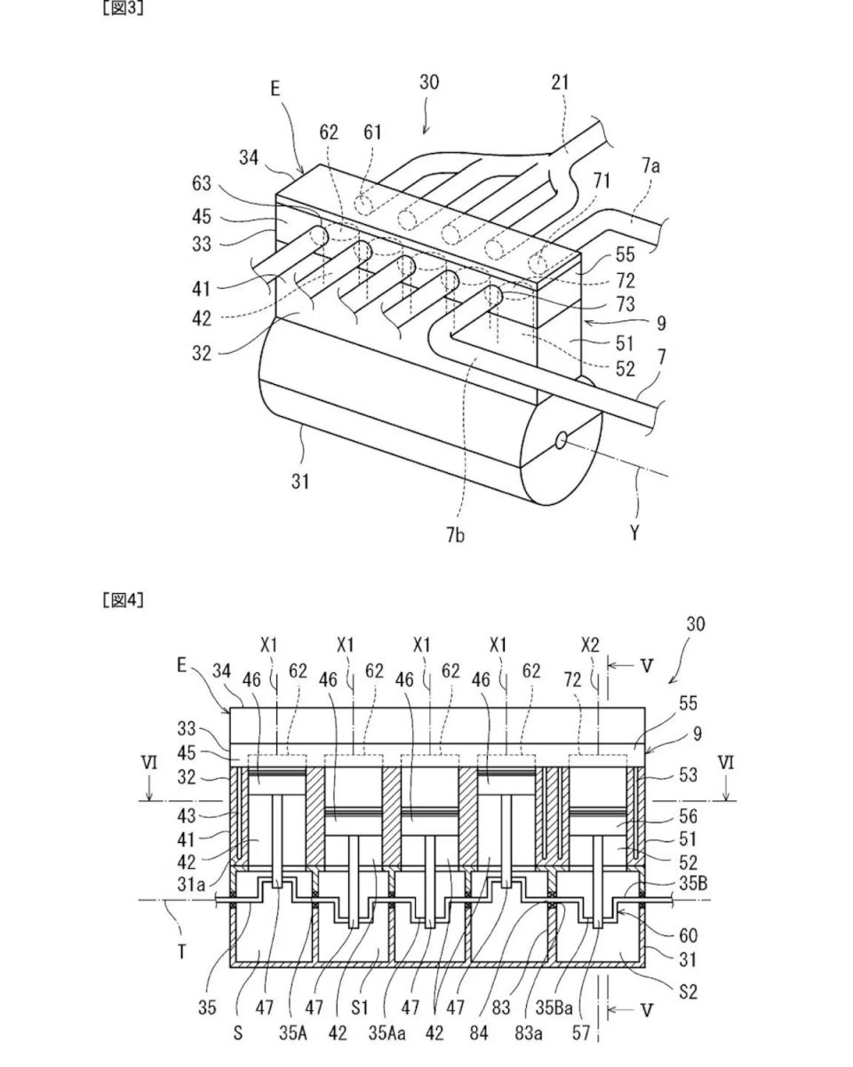
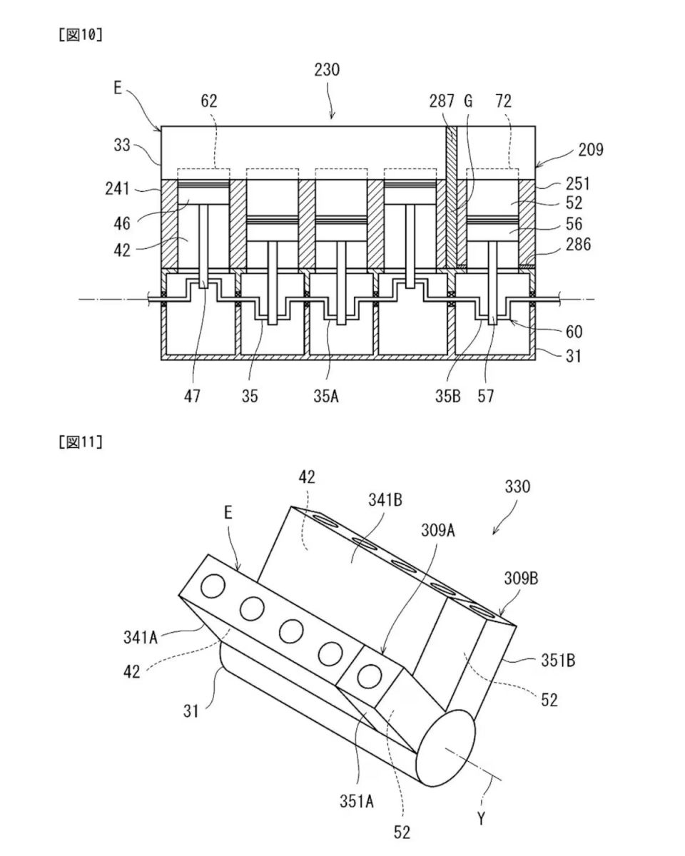
Y aquí es donde entran las nuevas patentes de Kawasaki, que proponen una solución bastante ingeniosa: la casa de AkASHI plantea un sistema con doble bombeo de combustible, incluyendo una bomba mecánica integrada directamente en el propio motor. En los esquemas se aprecia un diseño que parece un cinco cilindros en línea, pero en realidad es un cuatro cilindros con un cilindro adicional dedicado exclusivamente a comprimir el hidrógeno antes de la inyección.
Pero, ¿para qué sirve ese cilindro extra? Es la clave de todo. Según esta idea, el hidrógeno sale del depósito, pasa por un vaporizador que lo lleva a estado gaseoso y, después, por una bomba inicial. A partir de ahí, entra en ese cilindro extra accionado por el cigüeñal, que eleva la presión hasta niveles suficientes para la inyección directa en la cámara de combustión.
Los japoneses hasta contemplan configuraciones más complejas, como motores en V con varios cilindros dedicados a esta función, lo que deja claro que Kawasaki está explorando múltiples arquitecturas para hacer viable el sistema.
Eso sí, aunque sobre el papel todo encaje, hay un problema que sigue sin resolverse del todo: el almacenamiento. El hidrógeno líquido tiende a evaporarse con el tiempo, incluso con los mejores sistemas de aislamiento, y claro, no es un detalle menor, porque limita el uso real de este tipo de motos en el día a día.
Leer también: Alguien ha creado una moto cohete en un cobertizo que acaba de romper todos los récords a 320 km/h
Aun así, Kawasaki continúa avanzando en una línea que muchos daban por descartada. Porque si algo tiene claro la marca japonesa es que el futuro no tiene por qué ser exclusivamente eléctrico, y que todavía hay margen para reinventar el motor de combustión… aunque sea con depósitos que parecen sacados de otra galaxia.

