
Kawasaki ha dado con la tecla para que comprarse una moto eléctrica deje de ser un hachazo a la cuenta corriente. La marca japonesa acaba de patentar un chasis modular que permite montar diferentes motores sin tener que fabricar un bastidor distinto para cada modelo. Es una estrategia que los fabricantes de coches llevan años usando para abaratar costes y que ahora llega a las dos ruedas para intentar que los precios bajen de una vez por todas.
Hasta ahora, el motor de gasolina era el que mandaba. Su tamaño y su forma obligaban a diseñar un chasis específico para cada modelo. Si querías una moto más potente, necesitabas un motor más grande y, por tanto, un bastidor distinto. Con la llegada del motor eléctrico, los ingenieros de Kawasaki se han dado cuenta de que tienen una libertad de diseño que antes no existía.
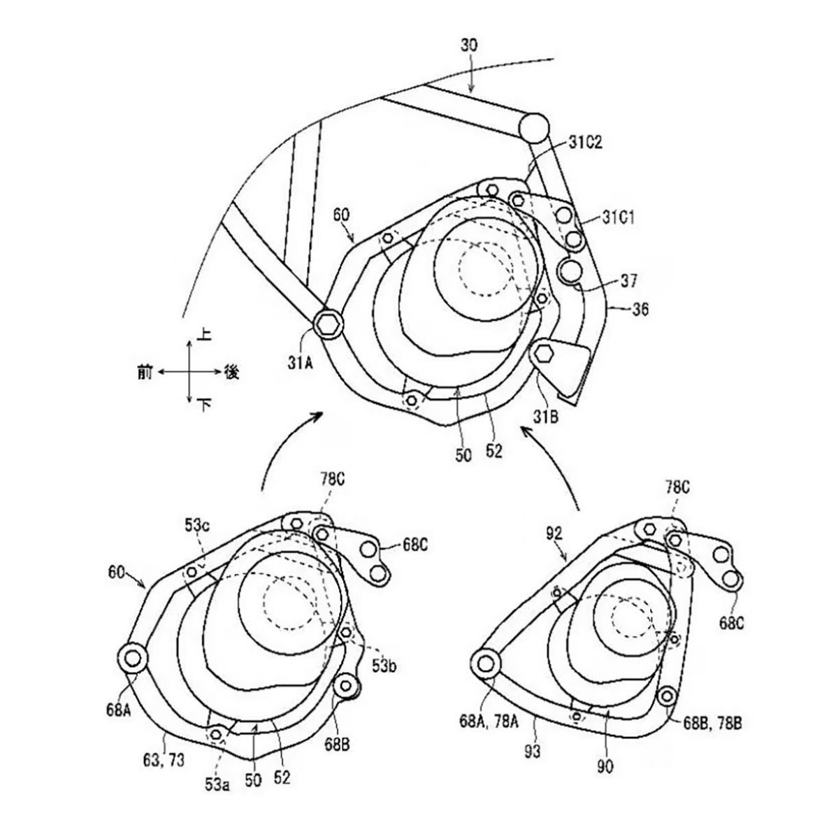
La clave de este invento es un sistema de piezas intercambiables. En lugar de soldar el motor directamente al chasis, la patente filtrada por Cycleworld.com muestra un subchasis intermedio dividido en dos partes. Estas piezas se pueden quitar y poner con facilidad, permitiendo que encajen motores de diferentes tamaños o potencias en el mismo hueco de siempre.
La marca explica en su documento técnico que este sistema ayuda a que no sea necesario hacer grandes cambios en la línea de producción. Según el texto oficial: "Diferentes tipos de unidades de motor pueden montarse en un vehículo de tipo motocicleta cambiando la forma del accesorio o cambiando si hay o no un accesorio presente, sin realizar cambios importantes en el bastidor principal".
Este enfoque busca reducir los costes de fabricación de forma drástica. Fabricar un solo chasis para cinco modelos distintos es mucho más barato que diseñar cinco bastidores desde cero. Al compartir tantas piezas entre modelos, Kawasaki puede aprovechar las economías de escala para intentar que el precio de venta al público baje de una vez por todas.

El documento también deja claro que esta sencillez ayuda en todas las etapas del proceso. En sus propias palabras: "Diferentes tipos de unidades de motor pueden montarse en un vehículo de tipo motocicleta haciendo pequeños cambios en el accesorio más pequeño en lugar de en un bastidor principal más grande". Esto ahorra tiempo en las fábricas y también mucho dinero en investigación.
Actualmente, en 2026, el principal muro que frena a los moteros para pasarse a lo eléctrico sigue siendo el bolsillo. Una eléctrica con autonomía decente suele costar bastante más que una de gasolina. Si Kawasaki consigue que producir estas motos sea tan barato como fabricar una Ninja de 400cc, el mercado podría dar un vuelco importante en los próximos meses.
Leer también: Suzuki España ya acepta pedidos de su nueva GSX-R 1000R 2026
El diseño que aparece en los bocetos recuerda mucho a las actuales Ninja e-1 y Z e-1, con su conocido chasis de multitubular de acero. La diferencia es que, con este nuevo sistema, la marca podría ofrecer una versión urbana económica y otra más deportiva usando prácticamente la misma cadena de montaje, simplemente cambiando el motor y ese pequeño soporte intermedio.

